11月2日,石家庄北国电子商务有限公司公有云服务采购项目招标公告,招标人为石家庄北国电子商务有限公司。
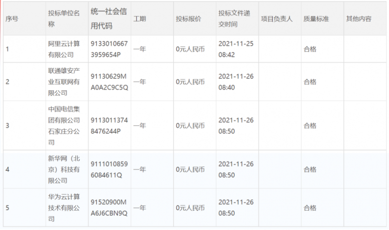
全部投标单位有:
新华网(北京)科技有限公司
华为云计算技术有限公司
阿里云计算有限公司
联通雄安产业互联网有限公司
中国电信集团有限公司石家庄分公司。
一、项目概况
本次招标的内容是公有云服务。包括安全、网络、存储、数据库、服务器等五大类云资源产品,涉及DDos高防、安全管家、堡垒机、云安全中心(态势感知)、IPv6网关、VPN网关、NAT网关、CDN、负载均衡、云存储、云数据库、云服务器等10余项云产品。投标人须提供针对性的云平台运行安全、数据安全、网络隔离、高性能、高并发、大数据量、高弹性的云服务保障方案,协助打通招标人北国电商系统与公有云之间的物理通道,实现公有云与北国电商现有IT环境之间互联互通。
二、项目开标
11月25日,开标:

中标候选人公示:
11月26日,石家庄北国电子商务有限公司公有云服务采购项目中标候选人公示:




